變頻恒壓供水設備、恒壓供水設備、無負壓變頻供水設備、二次供水設備、箱式無負壓泵站、消防設備、排污泵、水箱、管道清水泵
企業會員
產品價格詢價
產品品牌上海三利給水設備有限公司
最小起訂未填
供貨總量未填
瀏覽次數766
企業旺鋪http://qq57231864.48903.com/
更新日期2026-02-04 10:56
品牌: |
上海三利給水設備有限公司 |
所在地: |
上海 浦東新區 |
起訂: |
未填 |
供貨總量: |
未填 |
有效期至: |
長期有效 |
買排污泵,請選我們!不用再找了。歡迎垂詢!
『上海三利給水設備有限公司』客服24小時在線!
潛污泵 臥式排污泵 自吸式排污泵 液下排污泵
因市場魚龍混雜,請擦亮雙眼,我們是廠家!
排污泵主要包括:潛水排污泵|帶切割污水提升泵|不銹鋼排污泵|自吸式排污泵|無堵塞排污泵|家用潛水電泵|撕裂式排污泵|防爆潛污泵等,主要型號有QW、WQ、JYWQ、JPWQ、WQK/QG、AS/AV、GW、LW、ZW等系列。
AS/AV型撕裂式潛水排污泵是在普通潛水排污泵的基礎上增加了具有帶撕裂功能的結構,采用雙端面機械密封和旋轉葉輪,增強了其無堵塞排污及耐磨的能力。能將污水中長纖維、袋、帶、草、布條等物質撕裂、切斷,然后順利排放。適合于輸送含有堅硬固體、纖維物的液體以及臟、粘、滑的液體。同時可配備自動控制及自動安裝裝置,使AS/AV型撕裂式潛水排污泵的組合更為優良,運行更為。主要用于排送生活廢水、污水、人糞尿及含有短纖維紙屑、木屑、淀粉、泥沙、礦石粒等固體懸浮物和非腐蝕性介質。
a)、排污能力強,無堵塞,能有效地通過直徑φ30-φ80毫米的固體顆粒。
b)、撕裂機構能夠把纖維物質撕裂,切斷,然后順利排放,無需在泵上加濾網。
c)、設計合理,配套電機功率小,節能效果。
d)、新材料的機械密封,可以使泵連續運行在8000小時以上。
e)、結構緊湊,移動方便,安裝簡單,可減少工程造價,無需建造泵房。
f)、浮球開關可以根據所需的水位變化,自動控制啟動與停止,不需專看管。
g)、雙導軌自動安裝系統,它給安裝、維修帶來了方便,人可不必為此而進出污水坑。
h)、配備全自動保護控制箱對產品的漏電、漏水以及過載等進行了有效保護。
「 上海三利給水設備有限公司 」
- 一機在手,排污無煩惱
諸多環境,一機搞定 -
■ 介質溫度不超過60°C,介質密度為1.0~1.3×103 kg /m3,PH值在5~9范圍內;
■ 電機部分露出水面不宜超過1/2;
■ 主要零件材料為鑄鐵,所以不能用于抽送高強度腐蝕性液體。
注:用戶如有特殊要求(如介質腐蝕性高),可于訂貨時提出,以便提供材料的產品。
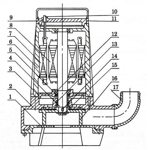
| 1 | 底座 | 10 | 電纜 |
2 | 泵體 | 11 | 上蓋 | |
3 | 軸承體 | 12 | 軸承 | |
4 | 軸 | 13 | 機械密封 | |
5 | 唇型密封 | 14 | 平鍵 | |
6 | 電機殼 | 15 | 葉輪螺母 | |
7 | 定子鐵芯 | 16 | 葉輪 | |
8 | 轉子鐵芯 | 17 | 彎管 | |
9 | 進線密封 |


關于『上 海 三 利 』
1、上海三利給水設備有限公司擁有技術力量和完備的檢測設備,每臺產品均按相關標準規定進行出廠檢驗,并建立產品檔案;
2、可根據用戶需要給予技術服務,協助用戶安裝調試、培訓維修工;
3、可根據用戶要求生產特殊規格(流量、揚程)或其它材質的泵;
4、負責供應配件,可根據用戶要求托運。
在水泵啟動之前,應由一名合格的電工對該泵進行檢查,下列下述各頂所要求的電器保護措施:
1、泵在運轉前,應用0~500兆歐表檢查電機相間及相對地絕緣電阻,應大于2MΩ。
2、電源裝置應正常。電源電壓、頻率應符合規定(電壓為380V±5%,頻率為50Hz±1%),且電壓的瞬時超差不應超過10%。如果電源離水泵使用的距離較遠時,電纜的截面積應加粗,接頭應盡可能少些,否則會使電壓下降太多,且應在電纜接頭處作密封防水處理,以防漏電。
3、在四芯電纜中,帶有符號"┴"者為接地線(一般為綠黃雙色線或黑色線)為了使用,必須牢固接地,并比其它線長出50mm。
4、條件許可時,電器保護裝置可包括:接地保護器,地面漏電斷流器等,但是,在任何情況下,都必須裝有和電泵額定電流值相符的慢熔熔斷絲。
5、電器控制裝置應防潮,井安裝在防潮的區域,電纜的安放應注意不要使其堵在泵的吸入口處。
6、檢查轉子轉動方向。在電泵初次啟動或重新安裝后都應檢查轉動方向,轉動方向不正確運轉會造成水泵效率降低,或造成葉輪脫落等損壞水泵事頂。為測定轉子轉動方向,在水泵安裝之前,應舉高并作點動運行,符合下列情況即轉動方向正確,否則,應交換控制器上三相線中任意兩根線的位置以改變轉動方向。
a、從泵的頂部向下看,轉子順時針方向轉動;
b、從底部向上看(即吸入口方向)可見葉片按逆時針方向轉動。
注:如果幾臺泵連到同一個控制器上,則應單獨檢查。
☆. 對于AS/AV型撕裂式潛水排污泵因為需要輸送的介質是一些含有固體物料的混合液體,這個問題使得在密封、電機承載能力、軸承布置及選用等方面的要求比一般的泵要高,因此在選型時,一定要了解清楚密封承載能力。
☆. 為了提高AS/AV型撕裂式潛水排污泵的壽命,現在大部分廠家都在泵的保護系統上想辦法,即在泵發生泄漏、過載、超溫等故障時能進行自動報警,并自動停機備修。
☆. 在設置保護系統,它能有效地保護電泵的運行。但這并不是問題的關鍵,保護系統只不過是在泵發生故障后的一種補救辦法,是一種比較被動的辦法。
正確安裝使用是該泵長久,正常運轉,提醒用戶千萬不可大意:
1. 決不允許用泵的電纜線起吊或懸掛水泵,在搬運或懸掛水泵時,可用帶鉤的鏈條鉤在把手上或上蓋的吊環上;
2. 在移動使用時,出水軟管可用前面表格規定的標準軟管接頭,接在水泵的出水彎管上,固定使用時,可根據自耦裝置的法蘭標準設置管路;
3. 水泵不能放在污水的出口處,當水泵座放在泥地上或浮沙上吋,水泵由于震動,產生下陷,這時建議將水泵懸置起吊或放在一個較大的底板上;
4. 如果泵仍在繼續運轉,在0℃以下的氣溫時,可以繼續使用,但如果停止不用時,則應將泵吊起清洗保管;
5. 出水管內徑應符合規定的要求,但在輸送距離較遠時,也可適當減小內徑但易引起堵塞,降低輸送效率,不經濟;
6. 在污水中使用的泵,經過長時間運轉之后,在機殼的周圍可能堆集泥漿等雜物,降低了傳熱的速度,使泵的內部溫度上升,縮短電機的使用壽命,或造成無緣無故的跳閘,因此,每運轉一定時段之后,應用軟管對泵進行沖洗,保持其清潔;
7. 泵密封使用10#-30#機械油進行潤滑冷卻,由于密封磨損,潤滑油會漏出,而輸送介質也可能經過密封進入電機,這時請趕快將泵送至本廠修理部門或委托維修點更換密封,以免將水泵電機燒壞;
8. 未切電源時,不得移動水泵,不得在泵工作吋接觸四周的水源,以防泵萬一漏電,而又無地面漏電斷流器裝置時,造成觸電事故;
9. 安裝以后,不宜長期浸泡在水中不用,從而增加電機受潮的機會,同時建議每周至少運轉4小時以檢查其功能及適應性,否則,應提起放在干燥處備用。
________________________________________________________________________________________
小貼士1:切不可將電纜線起吊或懸掛水泵。
小貼士2:為延長水泵使用壽命,應定期加注或更換油室中機油(10#機油),提高機械密封的使用壽命。泵常規運行4000小時后,需對泵進行拆檢,更換不宜再用的易損件。
小貼士3:客戶配自動耦合裝置時,導軌的長度(標準長度為3M)。
———————————————————————————
如有任何疑問,請垂詢『上海三利給水設備有限公司』一定會盡心盡力為您提供服務。

本網頁所展示的有關 上海三利給水設備有限公司 為你提供的“AS/AV型撕裂式潛水切割式排污泵,上海三利生產”排污泵價格、型號、圖片、廠家等信息。如有需要請撥打電話:18590330992。
信息及其他相關推薦信息,均來源于其對應的企業,信息的真實性、準確性和合法性由該信息的來源企業完全負責。企資網對此不承擔任何保證責任。
在您的合法權益受到侵害時,歡迎您向weilaitui@qq.com郵箱發送郵件,或者進入《網站意見反饋》了解投訴處理流程,我們將竭誠為您服務,感謝您對企資網的關注與支持!